
金属阀门表面衬胶有3种方法。一种是模具压制衬胶。采用这种方法压制衬胶阀, 每一种规格都需要制作2套以上的模具, 致使制造成本高。另一种是刷胶的方法。即将调制的胶涂刷于金属表面。这种方法对于形状复杂的零件,质量不易控制。再一种是将生胶片随形粘于金属零件表面, 然后进行硫化处理。这种方法零件的衬胶层厚度均匀, 质量稳定。经过分析和比较, 采用贴氯丁生胶片硫化的方法试制了2台DN500mm衬胶蝶阀。
衬胶前.阀体、蝶板、密封圈压板及2根阀轴按衬前尺寸加工,然后去毛刺, 喷砂.涂刷粘接剂,并将被衬零件预热衬胶。对于需加工的表面衬2层橡胶.对于非加工表面可衬一层橡胶。在每层衬胶完成后应仔细检查橡胶与金属的贴合情况,如有气泡需将气泡排出, 然后将橡胶压平压实,并在硫化罐内进行硫化处理(图1)。硫化时要严格控制压力、温度和保温时间, 最后在空气中放置24h, 硫化完成。经检测, 橡胶层硬度为A9O~95, 扯断强度≥12MPa。粘着强度≥6MPa。
根据橡胶的性能,其加工特点是韧性强.故加工橡胶的刀具前角和后角比加工金属的刀具前角和后角大(图2)。刀具材料选为W18Cr4V。加工中. 必须及时清除胶屑, 否则影响表面粗糙度。
衬胶蝶阀装配时用石蜡油做润滑剂. 铰锥销孔时以水冷却。装配完成后试压,2台试制的村胶蝶阀全部合格。试压完成后.选用495粘接剂将密封圈压板螺钉孔、蠛板锥销孔及工艺爪的部位全部冷粘压好的氯丁胶片.完成补胶工艺。
![]() |
![]() |
| 1、截止阀 2、截止阀 3、蒸汽源 4、截止阀 5、温度计 6、压力表 7、截止阀 8、风泵 9、气水分离器 图1 硫化装置 | 图2 加工橡胶刀具角度 |
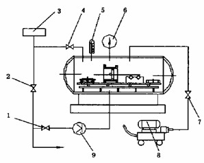
衬胶蝶阀试验按照(蝶阀寿命试验标准>进行(图3)。试验时, 将衬胶蝶阀空载开关3次。然后开水泵。将储压罐注满水井加压。打开截止阀, 压力水通过截止阎注入阎体左腔,此时阀门处于关闭状态。阎体左腔系统压力为1MPa, 阎体右腔压力为0. 电磁阀处于关闭状态。当蝶板在带压打开状态下, 系统的压力迅速下降至0。随着压力水的逐渐注入.系统的压力又逐渐升至1MPa. 这时蝶板逐渐由开至关的位置. 即带压关闭。这时电磁阎靠电磁铁吸引打开.此时阎体右腔系统压力逐渐降至0. 阀体左腔压力为1MPa。保压一段时闯后. 电磁铁断电. 电磁阎处于关闭状态。经过10 000次的带压开关后, 密封面无磨损.产品质量合格。
1、 实验压力罐 2、排气阀 3、截止阀 4、压力表 5、衬胶蝶阀 6、伸缩接头 7、电磁换向阀 8、水源 9、水泵
衬胶蝶阀具有较强的耐腐蚀性. 使用寿命长. 质量稳定. 性能可靠.适用于酸碱盐等介质。
发布:上海仪欣阀门有限公司|返回:阀门知识