
常规比例压力控制阀(溢流阀或减压阀) 的输 出压力均随输入压力的增大而升高。本文所介绍的 新型比例调节气动阀同时具有正比例调节和反比例 调节(输出压力随着输入压力的增大而降低) 两种 功能。常规减压阀无论是直动式、先导式或二通 型、三通型, 在输入弹簧力或电磁力为零时, 连接 一次进口压力与二次出口压力之间的可变节流口通 流面积均为最小, 即为“常闭”状态, 因而此时输 出压力最低。而新型比例调节气动阀在输入压力为 零时, 连接一、二次压力的可变节流口通流面积最 大, 即为“常开”状态, 因而此时输出压力最高。 当进口压力增加到一定值时, 可变节流口通流面积 则变成最小为零。目前该阀最具前景的应用场合是 空气压缩机行业, 通过反比例阀的控制作用使得压 缩机的外部用气量与压缩机的进气量保持一致。
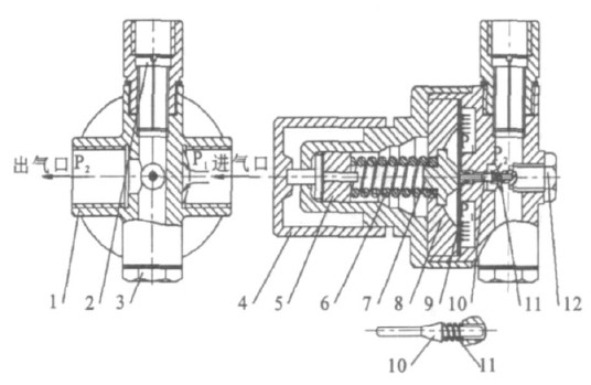
比例调节气动阀(图1) 的进口压力P1 比较 小时, 垫片将不会顶起, 小锥形阀瓣处于全开状 态, 此时, 出气口压力P2 随进气口P1 增大而增 大, 起到正比例调节的作用。
11 阀体 21 带阻尼孔螺钉 31 螺塞 41 可调旋钮 51 上弹簧座 61 大弹簧 71 下弹簧座 81 活塞 91 垫片 101 小阀瓣(锥形) 111 复位小弹簧 121 微调旋钮
图1 比例调节气动阀
当进气口压力P1 增加到一定值时,垫片在进气口压力P1 、大弹簧的作用力W1 、复位小弹簧的作用 力W2 以及出气口压力P2 的作用下而左移, 同时, 小锥形阀瓣也将左移,致使节流孔的通流面积减小, 从而使出气口压力P2 随进气口压力P1 的增大而减 小,起到反比例调节的作用。
当进气口压力P1 达到设定最大值时, 垫片和 复位小弹簧左移到最大值, 小锥形阀瓣将出气口完 全堵塞,即节流孔通流面积为零,气体只能从旁边的阻尼孔出去, 此时P2 为0 。通过调节微调旋钮可以 调节大小弹簧的预紧力, 从而可以调节工作压力的 范围。
发布:上海仪欣阀门有限公司|返回:阀门知识