
船用不锈钢波纹管截止阀安装在船舶动力装置 的管路上, 在使用过程中阀门发生了阀杆处泄漏和 阀杆锈死等问题,虽经修复但问题反复出现。经过 分析故障原因,采取了适宜的解决方案,消除了故 障,确保了阀门的性能。
不锈钢波纹管截止阀(图1)泄漏一般分为内 漏和外漏2种情况, 引起泄漏的原因较多。内漏一 般是因为流体介质中含有固体杂质破坏密封面引起 的,外漏的主要原因是波纹管破裂导致的密封边界 失效。结合现场使用情况分析,出现阀杆外漏的原 因主要与阀门结构、工作环境及使用操作方式有关。
![]() |
图1 波纹管截止阀
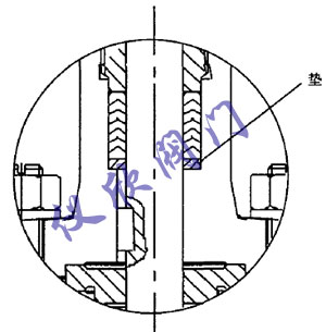
1.阀体2.阀体连接件3.阀瓣4.波纹管5.阀杆 6.外衬环7.衬环8.导向体9.平键I 1O.阀盖 11.下填料12.中填料13.上填料14.填料压盖 15.阀杆螺母16.手柄17.螺母压盖l8.平键Ⅱ 19.防松螺钉 |
阀杆采用波纹管及填料双重密封结构,波纹管 与内衬环及外衬环焊接成波纹管组件,再与阀杆及 导向体焊接,阻断介质通过阀杆向外渗漏。阀杆上 下的移动距离通过平键I进行限位。阀门关闭时, 平键I向下运动,直至阀瓣与阀座完全接触。阀门 开启时,平键I向上运动,直至平键I的上端面与 下填料的下端面接触。由于下填料采用的是PTFE材料,材质较软,若过度开启阀门,将导致平键I 嵌入填料,阀门再无法开启和关闭,并拉裂波纹管 组件,造成介质沿阀杆处泄漏。波纹管的拉伸长度 及压缩量是根据阀门的行程确定的, 如果超过极限拉伸或压缩,则有可能损坏波纹管,造成波纹管破 裂,密封失效。因此需要增加阀门开启及关闭的限 位装置,使得阀门启闭过程中,波纹管一直在设计 范围内伸缩。
波纹管截止阀的工作环境恶劣也是造成其故障 的一个原因。由于安装于船体内的波纹管截止阀长 期工作于盐雾环境内,而且上部常有凝水滴落,造 成上部推力球轴承腐蚀,严重时,导致轴承与阀杆 接触性腐蚀。
在使用中如果过度开启或关闭波纹管截止阀, 则可能导致阀门不能满足有关性能要求。过度关闭 阀门时,则有可能压坏密封面,导致阀门再次使用 时密封失效。过度开启阀门时,则可能损伤波纹管 组件,造成阀门外漏。
![]() 结构修改后的阀杆填料密封结构 |
经过分析阀门存在的问题,对其结构、操作及 环境进行了改进。 首先是增加平键I的限位装置(图2),将PTFE材料的下填料底部增加一个厚3mm的不锈 钢填料垫, 以防止填料变形及对阀杆限位。 在阀门关闭时,如果出现阀门无法截流时,不 应加大力强制关闭,而是开启阀门,用流体冲刷一 段时间后再次关闭,反复两次,如仍无法关闭,应 检查研磨密封面。在阀门开启时,当阀门开启到一 定高度,阀杆遇到小的阻力后,尽量不要继续强制 开启, 以延长阀杆及其密封组件的寿命。 阀杆上部带有推力球轴承的截止阀,在安装 时,要尽量避免有凝结水直接滴落于阀门上部导致 阀杆锈蚀的位置。 |
波纹管截止阀改进后,没有再次发生波纹管拉 裂、阀杆锈死及外漏等故障,使用情况良好。
发布:上海仪欣阀门有限公司|返回:阀门知识