
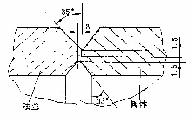
我厂生产的大口径电动楔式闸阀公称通径为DN1300mm, 壁厚为40ram。由于阀体重量和尺寸较大, 整体浇铸困难, 因此采用端法兰与阀体分别浇铸然后焊接的方法。阀体与法兰焊接处壁厚为40mm, 内外两侧开不对称的v形坡口(图1), 钝边加工成宽3mm,高1.5mm 的止口, 以利焊接定位。焊机型号为ZXG一400。阀体与法兰材料为WCB, 焊接性能较好, 焊条选用J506。焊前焊条在350~C下烘焙1h, 放入保温筒内. 在100~150"12下保温, 随用随取。
图1焊接坡口
焊接前, 应清理坡口及其附近100ram范围内的铁屑.油污等杂质。在内侧选择6个定位焊点, 沿圆周方向均布。定位焊缝长20ram,高3mm, 焊条直径 3.2mm, 电流为140A 。首先从内侧焊起,采用多层多道焊, 每层焊缝的熔深<3mm。施焊时, 焊道不易过宽,焊条稍作横向摆动, 除注意焊道与母材间的熔合情况外,还应注意焊道间的熔合情况,各层焊缝接头应错开50mm。每焊完一层, 将熔渣及飞溅物清理干净。如有缺陷, 应彻底清除后再进行焊接。内侧焊完3层后,用碳弧气刨清根,刨掉根部焊道及其缺陷, 再用砂轮打磨出金属光泽, 然后实施焊接。外侧焊至3~4层后, 再 将内侧余下的部分焊完, 随后焊接外侧余下部分。内外侧焊接时, 要使焊接始终处于平焊位置,并注意内外侧焊接参数的一致性。焊条直径45mm, 电流190~210A。一侧法兰焊接完毕后,采用相同的方法焊接另一侧法兰。由于焊缝体积较大, 焊缝的热量输入较多,接头处产生较大的焊接残余应力. 必须进行焊后消除应力处理。热处理温度为650"12,保温2h,升温及冷却速度<150"12/h。48h后探伤检查焊缝质量。按照此焊接工艺实施大口径阀门的阀体和法兰焊接, 效果较好。改进后的阀体对中量具专用性较强. 一种型号阀门使用一种量具, 只有生产具有一定批量才较为实用。因此, 有待于进一步的改进。
发布:上海仪欣阀门有限公司|返回:阀门知识